降低井底岩石抗钻能力的钻速提高方法研究及钻头设计

Research on the Method of Improving ROP and Designing Drill Bits to Mitigate Drillability of Bottomhole Rocks

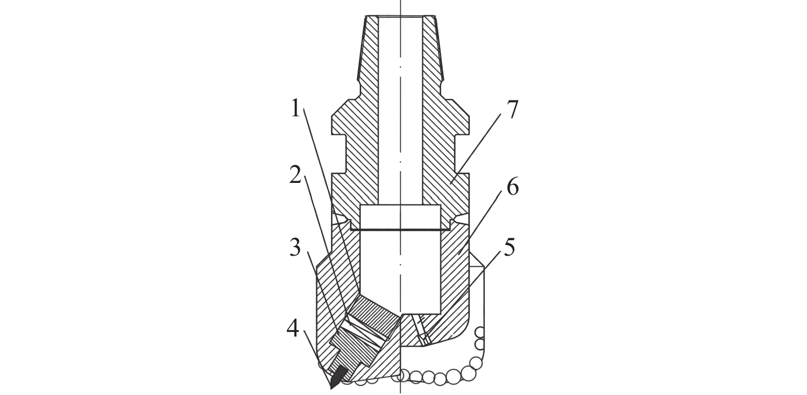
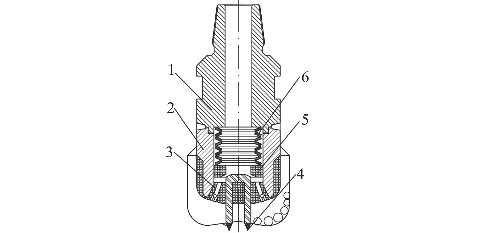
  • 摘要: 为解决深部地层岩石硬度大、研磨性强、地应力高及可钻性差导致的钻头破岩效率低、钻井速度慢的问题,在分析现有提速技术的基础上,提出了释放地层应力、降低井底岩石抗钻能力的钻井提速新思路,基于该思路设计了井底应力诱导卸荷钻头、聚能攻击卸荷井底应力钻头、差压式钻头、中心差压式钻头、诱导卸荷与磨料射流联合作用钻头、阶梯式钻头和自激轴冲与诱导卸荷耦合破岩钻头等7种新式钻头。通过室内试验、现场试验,验证了其中2种钻头的提速效果:中心差压式钻头在室内试验中提速30.01%,现场试验最高提速318.11%;诱导卸荷与磨料射流联合作用钻头在室内试验中钻进石灰岩和红砂岩时分别提速59.0%和336.0%。该方法的提出及钻头的研制,为解决深部难钻地层的提速问题提供了新途径。

     

    Abstract: In order to solve the problems of low rock breaking efficiency of drill bits and low rate of penetration (ROP) caused by great hardness, strong abrasiveness, high in-situ stress, and poor drillability of deep formation rocks, a new method of improving ROP was put forward to release the in-situ stress and reduce the drilling resistance of bottomhole rocks based on the analysis of existing speed increase technologies. Based on this idea, seven new types of drill bits were designed: bottomhole stress-induced unloading drill bits, concentrated energy attack-type unloading bottomhole stress drill bits, differential pressure drill bits, central differential pressure drill bits, drill bits under the joint action of induced unloading and abrasive jet, stairs type drill bits, and coupled self-excited axial impact and induced unloading rock-breaking drill bits. The ROP increase effect of two types of drill bits were verified through laboratory and well-site experiments. The central differential pressure drill bit increased its ROP by 30.01% in laboratory experiments, and the highest ROP increase in well-site experiments was 318.11%. The drill bits under the joint action of induced unloading and abrasive jet increased the ROP of limestone and red sandstone by 59.0% and 336.0% in laboratory experiments, respectively. The proposal of this method and the development of drill bits provide new ways for the ROP increase technology in deep formation with poor drillability.

     

/

返回文章
返回