窄河道油藏水平井边界校正系数研究

Research on Boundary Correction Coefficient of Horizontal Wells in Narrow Channel Reservoirs

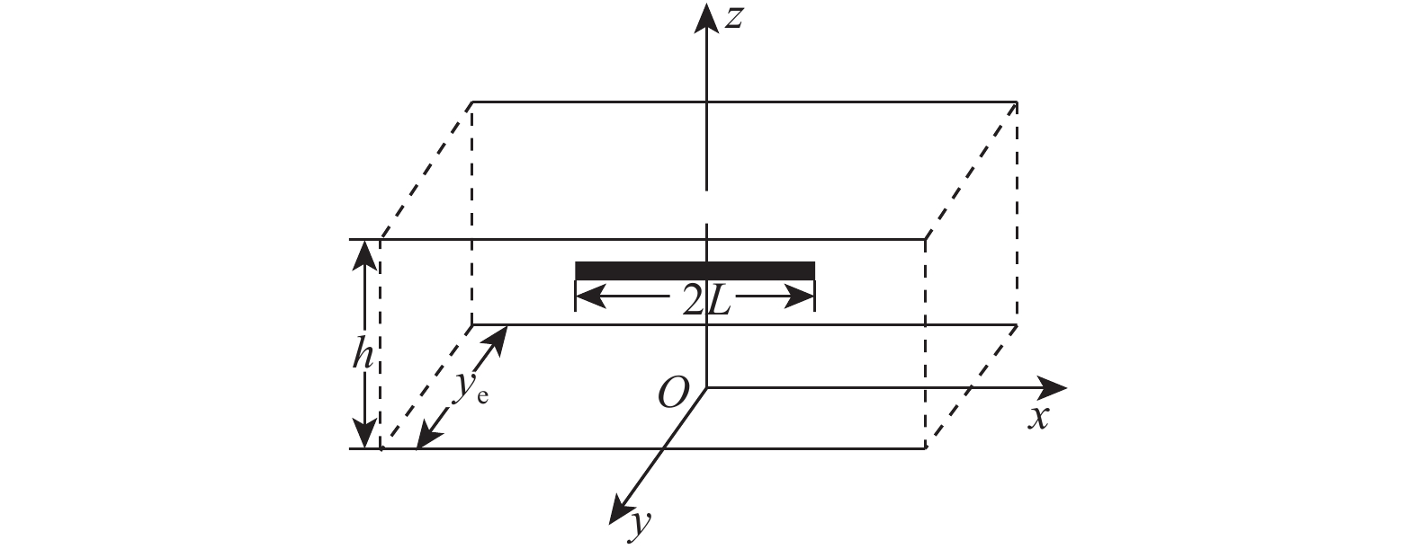
  • 摘要: 为了准确评价窄河道油藏水平井的产能,避免因钻杆地层测试(DST)时间较短造成评价结果偏大,引入边界校正系数表征河道宽度对水平井产能的影响,建立了窄河道油藏水平井模型并求解,得到不同河道宽度下边界校正系数随测试时间的变化曲线。研究结果表明,河道宽度对水平井产能的影响不可忽视,河道宽度越小,边界校正系数越小。利用该方法对渤海X油田P1H 井和 P7H 井2口水平井的比采油指数进行了预测,预测的比采油指数与实际比采油指数的相对误差小于 5.4%,说明引入边界校正系数,能显著提高窄河道油藏水平井产能评价的准确性。该方法可为类似窄河道油藏中水平井的产能评价提供理论依据,指导油藏合理配产。

     

    Abstract: In this paper, the boundary correction coefficient was introduced to characterize the influence of channel widths on the productivity of horizontal wells. In this way, the large evaluation results caused by the short duration of the drill-stem testing (DST) can be avoided, and the productivity of horizontal wells in narrow channel reservoirs can be accurately evaluated. A model for the horizontal well in narrow channel reservoirs was built and solved, and the variation curves of the boundary correction coefficient with testing time were obtained under different channel widths. The research results suggest that a narrower channel is accompanied by a smaller boundary correction coefficient, and hence, the impact of channel widths on the productivity of horizontal wells cannot be neglected. The method was applied to predict the specific productivity index of Well P1H and Well P7H, two horizontal wells in Bohai X Oilfield, and the relative error between predicted results and actual results was less than 5.4%. This indicates that the introduction of the boundary correction coefficient can significantly raise the productivity evaluation accuracy of ho-rizontal wells in narrow channel reservoirs. This method can provide a theoretical basis for predicting the productivity of horizontal wells in similar narrow channel reservoirs and guide the reasonable proration of oil reservoirs.

     

/

返回文章
返回